Статьи
- Язык Этого Установочного Пакета Не Поддерживается Данной Системой
- Игра Противостояние 3 Карты
- Игру Про Лошадей
- Русская Живопись 19 Века Кратко
- Инструкция Таймер Времени
- История Герба Украины
- 192.168 0.100 Настройка Роутера Tp Link
- Vm 107 Инструкция
- Видео Пытки Женщин
- Типовая Инструкция По Эксплуатации Дымовых Труб И Газоходов
- Годовой Отчет Работы Музыкального Руководителя Доу


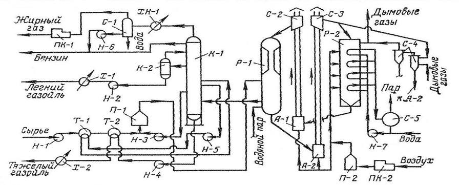
Физикохимические основы процесса каталитического крекинга. Каталитический крекинг как крупнотоннажный процесс углубленной переработки нефти. Вид, курсовая работа. Курсовая работа, добавлен 12. Расчет реактора установки каталитического крекинга. Каталитический крекинг как крупнотоннажный процесс. Читать курсовую работу online по теме Каталитический крекинг нефтяных фракций. Раздел Другое, 22962, Загружено 16. Уроки Тётушки Совы Через Торрент-География,Безопасность